Material Code Calibration Technique

Product Description

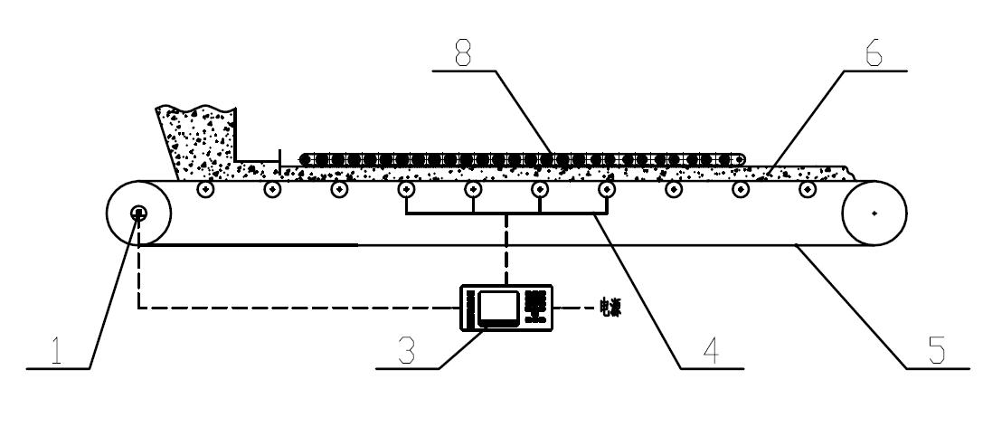
 The use of hanging code, chain code, circular chain code superposition of materials can compensate for the belt tension and belt hardness on weighing accuracy, improve accuracy.


Features
Applications
Technical Specifications
CHINA HEAD OFFICE
  • P    +86-0516-87885882
  • F    +86-0516-87885858
  • E    zouli@mnhk.cn
  • A    No. 2 Luoshan Road, Development Zone
  •        Xuzhou, Jiangsu, China